【型号推荐:TH-WQX5B,气象环境监测仪器设备生产厂家,云境天合支持商家定制服务,设备选择山东云境天合您放心】负离子传感器的作用—支持24小时连续在线监测,确保数据的连续性和时效性功耗与智能管理配备太阳能供电系统,支持智能低功耗模式,可根据光照强度调节运行功率,实现无人值守长期稳定工作。景区与生态园区实时监测负氧离子浓度,为游客提供空气质量信息,提升旅游体验。评估生态修复效果,为生态保护提供数据支持。城市环境监测在工业园区、交通要道等区域监测空气质量,为环境保护和治理提供依据。结合其他气象参数,分析污染物扩散规律,优化城市规划。室内环境监测在家庭、办公室等场所监测负氧离子浓度,提醒用户采取改善措施(如开启空气净化设备)。为医疗机构、养老院等提供健康、安全的环境数据支持。科研与教育科研人员借助其研究不同生态环境下负氧离子的分布规律。教育机构用于气象、环境科学等课程的教学实践。

一、产品简介
我司作为专业研发生产销售微型气象仪的企业,一直致力于微型气象仪和气象环境解决方案推广应用。具有完整的生产链、实力雄厚的技术团队和全面的营销团队,我们研发生产的五要素微气象仪、六要素微气象仪和小型自动气象站等气象产品,已广泛应用到气象监测、城市环境监测、风力发电、航海船舶、航空机场、桥梁隧道等领域,客户遍布全国各地,并取得了良好的社会效益和经济效益。
WQX5B型五要素微气象仪创新性地将负氧离子、空气温度、湿度、PM2.5、PM10等气象要素通过一个高集成度结构来实现,可实现户外气象参数24小时连续在线监测,通过数字量通讯接口将五项参数一次性输出给用户。
二、产品特点
1、抗干扰能力强,具有看门狗电路,自动复位功能,保证系统稳定运行
2、高集成度,无移动部件,零磨损
3、免维护,无需现场校准
4、采用ASA工程塑料室外应用常年不变色
5、产品设计输出信号标配为RS485通讯接口(MODBUS协议);可选配232、USB、以太网接口,支持数据实时读取☆
6、可选配无线传输模块,最小传输间隔1分钟
7、探头为卡扣式设计,解决了运输、安装过程松动不准的问题☆
三、技术参数
1、空气温度:测量原理二极管结电压法,-40-80℃(±0.3℃)分辨率0.01℃;
2、空气湿度:测量原理电容式,0-100%RH(±3%RH)分辨率0.01%RH;
3、PM2.5:测量原理光散射,0-1000ug/m3(±10%)分辨率1ug/m3
4、PM10:测量原理光散射,0-1000ug/m3(±10%)分辨率1ug/m3
5、负氧离子:测量原理圆筒式电极吸入式,0-10万个/cm³(±10%)分辨率1个/cm³
6、功率:2.3W
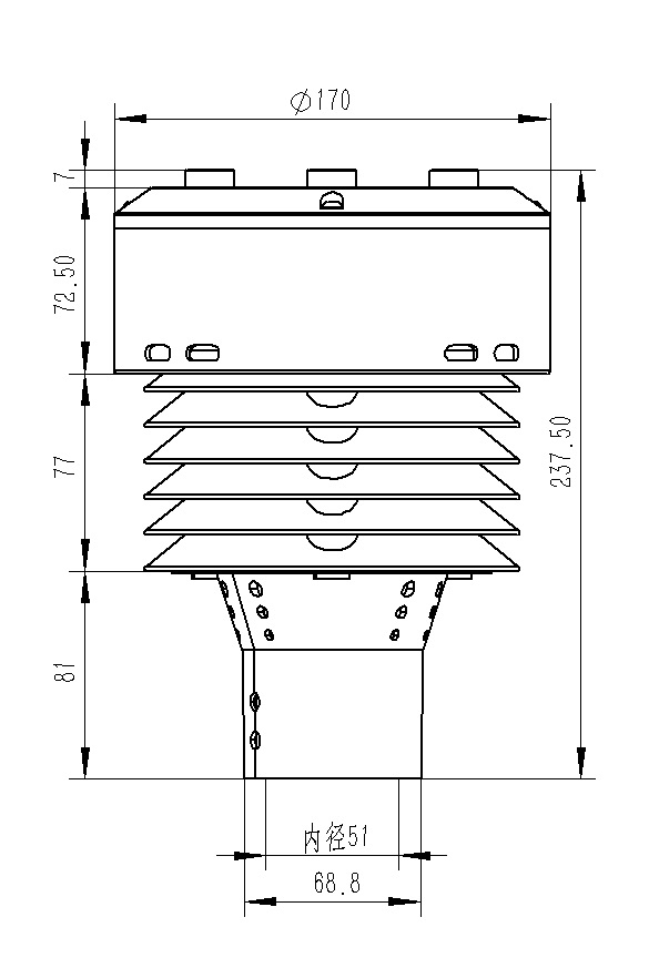
四、产品尺寸图
五、产品结构图
六、产品接线定义
| 定义 | 备注 | |
| VCC | 电源正 | DC12V |
| GND | 电源地 | |
| 485A | RS485A | |
| 485B | RS485B |
2026-05-24
2026-05-22
2026-05-22
2026-05-22
2026-05-22